What is Unique about Multi-Access Edge Computing (MEC)?
What are MEC Edge, MEC Node, MEC App, MEC Platform, MEC Host, etc.? Is it different from Mobile Edge Computing?

Some of the popular terms in Edge computing we get to hear — MEC Edge, MEC node, MEC App, MEC platform, MEC host, etc. When I first heard about Multi-Access Edge Computing, I was looking to figure out if each of these terms have a specific list of attributes. Why is it named Multi-Access and not something else? Why is it so popular today? Many consortia are working on Edge architectures, what is so unique about this one? If you are someone looking to know more about MEC, this article is for you.
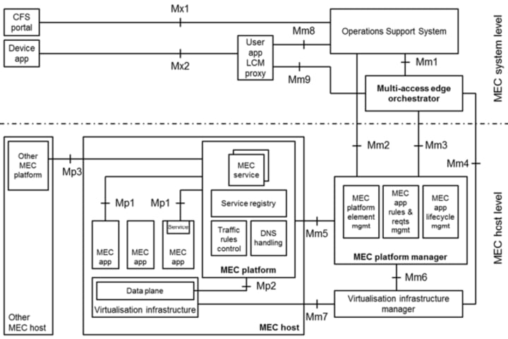
The MEC initiative is an Industry Specification Group (ISG) within the European Telecommunications Standards Institute (ETSI), whose purpose is to create a standardized, open environment which allows for an efficient and seamless integration of applications from vendors, service providers, and third parties across multi-vendor Multi-access Edge Computing platforms. ETSI MEC provides set of standards, specifications and API definitions that help enable various edge service models across the different types of edge deployments. Figure 1 provides high level architecture.
Why is it named Multi-Access?
Due to the nature of Edge computing, multiple types of deployment scenarios are possible for Edge such as IoT or On Premise or Wireless Access, etc. (More info: 4 Types of Edge Computing — Broadly Categorized). End users need a common unified approach to access compute services across these various types of Edge computing. The main purpose of multi-access being to unify the infrastructure under common set of interfaces to enable API developers provide seamless access to Edge compute infrastructure.
What’s with the names?
Lets look at some of the terms used in MEC Architecture, as defined by ETSI GS MEC 003 v2.1.1:
MEC Host:
The entity that contains the MEC platform and a virtualization infrastructure which provides compute, storage, and network resources for the MEC applications. The host infrastructure provides all the necessary components to operate in an Edge Cloud environment
MEC Platform:
Provides broad set of functions within a MEC Host that enable MEC Apps operational within a MEC deployment. Few of its capabilities and responsibilities:
MEC Platform Manager:
Main component that manages lifecycle of applications by managing traffic rules, DNS config, service authorizations, etc.
MEC Orchestrator:
Main component that is responsible for system level management within a MEC deployment. It maintains overall view of MEC system based on available resources, services & topologies; onboards application packages by adhering to set of operator policies; selects MEC hosts for instantiating applications based on set constraints; application creation, relocation, termination, etc.
MEC App:
These are the applications that run as Virtual Machines (VM) within in a MEC host to provide MEC services and interact with MEC Platform. They have set rules & requirements to adhere to Edge environment such as resource constraints, latency limits, etc.
MEC Services:
Simply put, it is a service provided and consumed by either MEC platform or MEC application. Few examples of services:
Interfaces Mm:
These are references related to MEC management entities such as MEC orchestrator, Operation System Support (OSS), MEC platform manager, etc. Available interfaces: Mm1, Mm2, Mm3, Mm4, Mm5, Mm6, Mm7, Mm8 and Mm9
Interfaces Mp:
These are the references related to MEC platform entities and provides interaction requirements between and among MEC applications or multiple MEC platforms. Available interfaces are Mp1, Mp2 and Mp3
Interfaces Mx:
These are reference points related to external entities such OSS & customer facing service portal or user application lifecycle management proxy. Available interfaces are Mx1 and Mx2
Interfaces Mv:
These are related to MEC in NFV architecture variant that includes NFVO or VNF Manager and interfaces defined in ETSI NFV specification (ETSI GS NFV 002 v1.2.1).

Highlights of MEC
The concept of Multi-Access Edge Computing (MEC) moves disaggregates the centralized computing of traffic and services in a central cloud to the edge of the network and closer to the customer. To simplify the nomenclature and most importantly indicate adherence of an edge deployment with MEC standards, the edge platform is usually referred to as a MEC platform. Features of a MEC platform include, but not limited to:
- The importance of MEC is highlighted by the fact that it unites IT and cloud computing capabilities with telecom networks across the types of edges described earlier.
- Enables new business models for applications and services to be hosted on top of mobile network elements such as RAN functions, gateway elements, customer premise equipment and so on.
- Creates set of unified APIs that application developers could leverage across both edge and cloud compute environment
- Provides mechanisms to reduce network congestion and accelerate network and application performance enabling low latency type services to IoT and mobile platforms
- Enables data processing to be done at the network edge closer to the user location there by reducing the burden on network and cloud resources
- Provides new types of data security constructs with ability to process sensitive user data locally adhering to government or policy requirements
- Provides cost-effective way to deploy and manage private wireless and wireline networks through an intelligent allocation of assets
- Real time analytics using heuristics or AI models with a lower latency turn around
- Ability to adhere to various compliance requirements in a distributed manner
List of publications:
The above said capabilities of a MEC platform are derived from set of specification published by ETSI MEC ISG. MEC ISG has produced over 30 specifications establishing and describing APIs across multiple edge to device connectivity and edge to network core scenarios and more. Some of the specifications published are listed as below:
- WLAN Access Information API
- Study on Inter-MEC systems and MEC-Cloud systems coordination
- General principles, patterns and common aspects of MEC Service APIs
- UE Identity API
- API Conformance Test Specification; Part 1: Test Requirements and Implementation Conformance Statement (ICS)
- API Conformance Test Specification; Part 2: Test Purposes (TP)
- API Conformance Test Specification; Part 3: Abstract Test Suite (ATS)
- Framework and Reference Architecture
- Edge Platform Application Enablement
- Multi-access Edge Computing (MEC) MEC 5G Integration
- General principles, patterns and common aspects of MEC Service APIs
- Traffic Management APIs
- WLAN Information API
- V2X Information Service API
- Device application interface
- Application Mobility Service API
- Radio Network Information API
- Support for network slicing
- Edge Platform Application Enablement
- MEC Management; Part 2: Application lifecycle, rules and requirements management
- Study on MEC support for alternative virtualization technologies
- Location API
- Proof of Concept Framework
- Fixed Access Information API
- MEC Testing Framework
- UE application interface
- Support for regulatory requirements
- Framework and Reference Architecture
- General principles for MEC Service APIs
Summary:
ETSI MEC ISG is a major force behind architecting Edge computing standards and interoperability interfaces. It is one of the very active ISG under ETSI. Application writes, service providers, architects or anyone who wants to build and deploy solutions for Edge compute need to be aware of these specifications and possibly comply to these standards in order to ensure interoperability of Edge across the diverse global ecosystem of Edge deployments
What has been your experience with MEC so far? Are there barriers for adoption that you have encountered? Would love to know your thoughts.
References: Most of the content has been taken in from ETSI GS MEC 003 v2.1.1. The list of publications are available at https://www.etsi.org/committee/1425-mec




Comments
There are no comments for this story
Be the first to respond and start the conversation.